临湘市创业担保贷款申请
办理地点:临湘市长盛西路333号临湘智慧政务中心1楼48--63号窗口
办理时间:法定工作日,
夏季(7月1日—9月30日):上午9:00—12:00,下午13:30—17:30;
冬季(10月1日—次年6月30日):上午9:00—12:00,下午13:00—17:00
办结时限:30个工作日
咨询电话:0730 —3388036;0730—3722848
申请条件:
在劳动年龄内、信用良好、具备一定创业能力和创业条件,在城区自主创业且从事微利项目的个人或小微企业。申请人在申请贷款时,本人及其配偶应没有贷款记录(助学贷款、扶贫贷款、住房贷款、购车贷款、5万元以下的小额消费贷款除外)。
申请对象:
持有人社部门核发的《就业失业登记证》(或《就业创业证》)的登记失业人员、毕业五年以内的普通高校毕业生(含留学回国学生和服务期满5年以内的大学生村官、技师学院高级工班、特殊教育院校学生)、复员转业退役军人(自主创业时不在机关事业单位、国有企业就业)、返乡创业农民工、残疾人、刑满释放人员、网络商户(省内工商部门登记注册,经营6个月以上,平均月营业额达到3000元以上)、建档立卡贫困人口、农村自主创业农民。
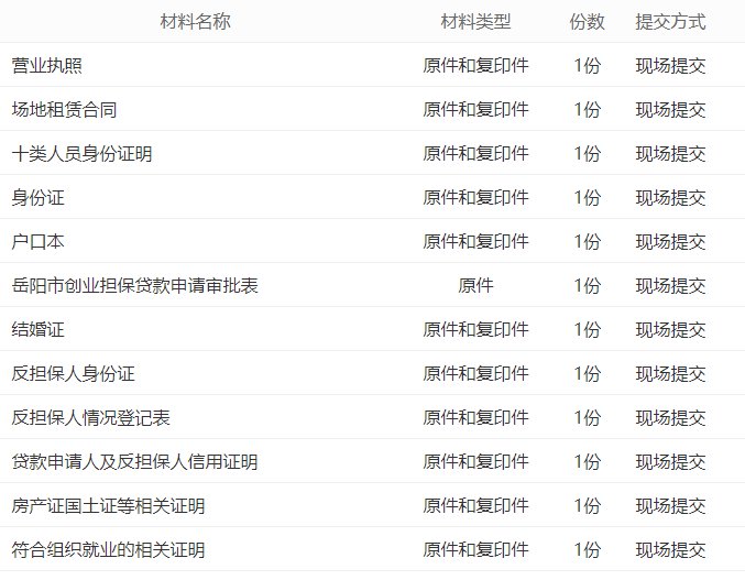
所需材料:
申请流程






