华容县哪些派出所能办理指纹补采 华容县哪些派出所能办理指纹补采证

地方特产2023-10-15 00:09:12佚名

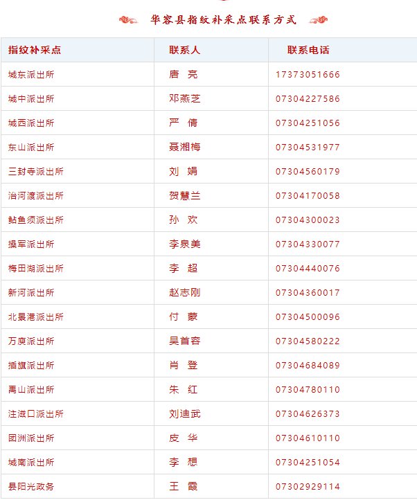
  华容县指纹补采派出所

  

相关推荐

猜你喜欢

大家正在看

换一换